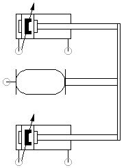
Fluidic muscle with two double acting cylinders

Fluidic muscle can be guided by coupling it mechanically with two double-acting cylinders. It is also possible to apply a load to the muscle via the cylinders.

Adjustable parameters

Fluidic muscle
Designation Range Default value
Type DMSP-10, DMSP-20, DMSP-40, MAS-10, MAS-20, MAS-40 DMSP-10
Length 40 ... 9000 mm 250
Cylinder
Designation Range Default value
Piston diameter 1 ... 1000 mm 20
Piston rod diameter 0 ... 1000 mm 8
Maximum stroke 1 ... 5000 mm 200
Piston Position 0 ... 5000 mm 0
Damping length 1 ... 100 mm 10
External load
Designation Range Default value
External force -1000000 ... 1000000 N 0
Moving mass 0 ... 10000 kg 0
Static friction coefficient 0 ... 2 0
Sliding friction coefficient 0 ... 2 0
Mounting angle 0 ... 360 deg 0